三家“平安”,撕起来了!
上证报记者注意到,一家名为“平安建设”的公司,8月21日、8月23日在其官方公众号上连发两份声明,分别题为《关于平安银行(11.250, -0.12, -1.06%)以不正当手段阻挠我司办理银行业务的严正声明》和《关于平安银行与平安建投互相勾结的严正声明》。

“平安建设”全名平安建设集团有限公司。该公司在声明中表示,纠纷对象为平安建设投资有限公司(下称“平安建投”)和平安银行。
据财联社报道,平安银行杭州分行回应此事称,近日在办理相关公司业务过程中,发现客户身份存疑,为保障资金安全,根据制度规范启动客户身份尽职调查。在此期间,该行收到法院出具的司法冻结指令,并依据指令对相关账户依法冻结。整个过程,依法依规履行职责,切实维护客户合法权。
“平安建设”的两篇声明全文如下:

图片来源:“平安建设”公众号

图片来源:“平安建设”公众号
单从声明来看,“平安建设”“平安建投”“平安银行”三家公司纠纷尚未明晰。但据天眼查显示,从股权结构上来看,平安建投持有平安建设48%的股权,为平安建设的二股东。平安建设大股东鲲鹏控股集团有限公司(下称“鲲鹏集团”)则持有平安建设49%的股权。

图片来源:天眼查
穿透股权来看,深圳平安金融科技咨询有限公司间接持有平安建投50%的股权,而深圳平安金融科技咨询有限公司则是中国平安(46.460, -0.54, -1.15%)保险(集团)股份有限公司的全资子公司。

图片来源:天眼查
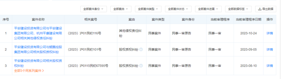
查阅天眼查进一步可知,大股东鲲鹏集团和二股东平安建投就股权质权和其他侵权责任存在一系列纠纷,共涉及三件民事案件,分别为“平安建设投资有限公司相关股权质权纠纷”、“平安建设投资有限公司与鲲鹏控股集团有限公司相关股权质权纠纷”和“平安建设投资有限公司与平安建设集团有限公司,杭州平康建设有限公司相关其他侵权责任纠纷”。
其中,“平安建设投资有限公司相关股权质权纠纷”一案已与8月10日开庭,后两案将分别于9月5日和10月24日开庭。

图片来源:天眼查





商业观察网-《商业观察》杂志社官网版权与免责声明:
① 凡本网注明“来源:商业观察网或《商业观察》杂志”的所有作品,版权均属于商业观察网,未经本网授权不得转载、摘编或利用其它方式使用上述作品。已经本网授权使用作品的,应在授权范围内使用,并注明“来源:商业观察网”。违反上述声明者,本网将追究其相关法律责任。
② 凡本网注明“来源:XXX(非商业观察网)”的作品,均转载自其它媒体,转载目的在于传递更多信息,并不代表本网赞同其观点和对其真实性负责。
③ 如因作品内容、版权和其它问题需要同本网联系的,请在30日内进行。
相关文章